產品概述
Q347F美標固定式軟密封球閥是新一代高性能球閥,適用于長輸管線和一般工業管線,其安全、耐惡劣環境性等在設計時均已進行了特殊考慮,適用于各種腐蝕性和非腐蝕性介質。它與浮動式球閥相比,工作時管道中閥前流體壓力在球體上產生的作用力全部傳遞給上下軸承,球體不會移動,閥門密封靠彈簧和介質壓力推動閥座實現,因而閥座不會承受過大壓力,所以固定式球閥門座變形小,操作力矩輕,密封性能可靠,使用壽命長。特別適用于高壓、大口徑的場合。
產品特點及用途
1)操作省力:球體由上下軸支撐,減少摩擦,消除了由于進□壓力推動球體與密封座形成的巨大密封負荷而造成過大的扭矩。
(2)密封性能可靠(見圖1): PTFE彈性材料密封圈嵌于不銹鋼閥座內,金屬閥座尾端設有彈簧保證密封圈足夠的預緊力,閥門在使用過程中密封面磨損時,在彈簧作用下閥門繼續保證良好密封性能。
(3)防火結構{見圖2):為防止由于驟熱或火災的出現,使聚四氟乙烯密封圈燒毀,發生較大泄漏,而助長火勢,在球體與閥座間設罝防火密封環,在密封圈燒毀時,在彈簧力作用下,將閥座密封環迅速推向球體上,形成金屬與金屬密封,起到一定程度的密封效果。耐火試驗符合API 6FA和API 607標準要求。
(4)自動泄壓功能(見圖3):當閥門中腔停滯的介質壓力異常升高超過彈簧的預緊力時,閥座后退脫離球體,達到自動泄壓的效果,卸壓后閥座自動復位。
(5)排泄管路:閥體上下均設置排泄孔,可檢査閥座是否發生泄漏,在工作中,閥門處于全開或全關時,卸掉中腔壓力,可直接更換填料;可以排放中腔滯留物,減少介質對閥門的污染。
輔助密封設罝系統(客戶需要請在訂購時說明)
(6)見圖4:本閥門設計有輔助的閥座緊急密封系統,一旦密封受損或出現緊急情況而不能密封時,通過輔助密封系統向密封面注射相應的密封劑即可修復密封面,達到緊急密封。當輸送的介質不潔或含有少量顆粒時,為保護密封面,確保達到可靠的密封,還可給這一裝罝注射相應的清洗劑或潤滑劑對密封面進行清洗。
(7)廣泛適用于食品、醫藥、石油、化工、天然氣、鋼鐵、環保、造紙等輸送管路介質的切斷或流通。還可給這一裝罝注射相應的清洗劑或潤滑劑對密封面進行清洗。
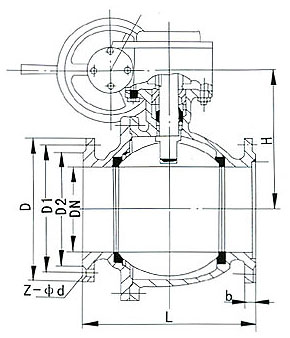
連接尺寸

Q347F-16C美標固定式軟密封球閥主要連接尺寸(mm)| 公稱通徑DN | 25 | 32 | 40 | 50 | 65 | 80 | 100 | 125 | 150 | 200 | 250 | 300 | 350 | 400 | 450 | 500 | 600 | 700 |
| d1 | 25 | 32 | 40 | 50 | 65 | 80 | 100 | 125 | 150 | 200 | 250 | 300 | 337 | 387 | 438 | 489 | 591 | 686 |
| L | 165 | 180 | 190 | 216 | 241 | 283 | 305 | 356 | 394 | 457 | 533 | 610 | 686 | 762 | 864 | 914 | 1067 | 1245 |
| H | 50 | 55 | 80 | 102 | 114 | 127 | 152 | 184 | 219 | 273 | 360 | 395 | 430 | 470 | 550 | 580 | 700 | 800 |
| 手動 | H1 | 75 | 85 | 95 | 107 | 125 | 152 | 178 | 300 | 330 | 398 | 495 | 580 | 625 | 670 | 698 | 840 | 1050 | 1100 |
| E | - | - | - | - | - | - | - | - | - | 116 | 116 | 171 | 171 | 257 | 257 | 257 | 150 | 83 |
| F | - | - | - | - | - | - | - | - | - | 350 | 350 | 400 | 420 | 400 | 420 | 400 | 410 | 650 |
| W | 160 | 160 | 230 | 230 | 400 | 400 | 650 | 1050 | 1050 | 600 | 600 | 800 | 800 | 800 | 800 | 800 | 800 | 800 |
| Wt(Kg) | 4.5 | 5.7 | 7 | 12 | 16 | 22 | 35 | 58 | 74 | 205 | 322 | 460 | 576 | 864 | 1280 | 1600 | 1600 | 4500 |
| 電動 | H2 | - | - | - | - | - | - | - | - | 554 | 600 | 652 | 760 | 770 | 830 | - | 940 | 940 | 1115 |
| L1 | - | - | - | - | - | - | - | - | 235 | 235 | 235 | 259 | 400 | 400 | - | 410 | 410 | 410 |
| 氣動 | H3 | 215 | 240 | 264 | 274 | 379 | 389 | 479 | 552 | 666 | 736 | 926 | 1059 | 1127 | 1393 | 1468 | 1538 | 1538 | 1450 |
| L2 | 200 | 270 | 270 | 270 | 405 | 405 | 576 | 576 | 776 | 776 | 776 | 1060 | 1060 | 1360 | 1360 | 1360 | 1360 | 2840 |
Q347F-25C美標軟密封球閥主要連接尺寸(mm)| 公稱通徑DN | 25 | 32 | 40 | 50 | 65 | 80 | 100 | 125 | 150 | 200 | 250 | 300 | 350 | 400 | 450 | 500 | 600 | 700 |
| d1 | 25 | 32 | 40 | 50 | 65 | 80 | 100 | 125 | 150 | 200 | 250 | 300 | 337 | 387 | 438 | 489 | 591 | 686 |
| L | 165 | 180 | 190 | 216 | 241 | 283 | 305 | 381 | 403 | 502 | 568 | 648 | 762 | 838 | 914 | 991 | 1143 | 1346 |
| H | 50 | 55 | 80 | 102 | 114 | 127 | 152 | 184 | 219 | 273 | 360 | 395 | 430 | 470 | 550 | 580 | 700 | 800 |
| 手動 | H1 | 75 | 85 | 95 | 107 | 125 | 152 | 178 | 300 | 330 | 398 | 495 | 580 | 625 | 670 | 698 | 840 | 1050 | 1100 |
| E | - | - | - | - | - | - | - | - | - | 116 | 116 | 171 | 171 | 257 | 257 | 257 | 150 | 83 |
| F | - | - | - | - | - | - | - | - | - | 350 | 350 | 400 | 420 | 400 | 420 | 400 | 410 | 650 |
| W | 160 | 160 | 230 | 230 | 400 | 400 | 650 | 1050 | 1050 | 600 | 600 | 800 | 800 | 800 | 800 | 800 | 800 | 800 |
| Wt(Kg) | 4.5 | 5.7 | 7 | 15 | 24 | 30 | 55 | 87 | 118 | 255 | 370 | 533 | 640 | 1030 | 1524 | 2100 | 4200 | 5300 |
| 電動 | H2 | - | - | - | - | - | - | - | - | 235 | 235 | 400 | 400 | 410 | 410 | - | 420 | 690 | 690 |
| L1 | - | - | - | - | - | - | - | - | 74 | 350 | 350 | 420 | 420 | 400 | - | 400 | 410 | 650 |
| 氣動 | H3 | 215 | 240 | 264 | 340 | 379 | 452 | 479 | 646 | 666 | 814 | 1002 | 1059 | 1150 | 1205 | 1250 | 1295 | 1390 | 1470 |
| L2 | 200 | 270 | 270 | 405 | 405 | 574 | 574 | 756 | 756 | 1060 | 1060 | 1060 | 1360 | 1360 | 2840 | 2840 | 3300 | 3300 |
Q347F-40C美標軟密封球閥主要連接尺寸(mm)| 公稱通徑DN | 25 | 32 | 40 | 50 | 65 | 80 | 100 | 125 | 150 | 200 | 250 | 300 | 350 | 400 | 450 | 500 | 600 | 700 |
| d1 | 25 | 32 | 40 | 50 | 65 | 80 | 100 | 125 | 150 | 200 | 250 | 300 | 337 | 387 | 438 | 489 | 591 | 686 |
| L | 165 | 180 | 190 | 216 | 241 | 283 | 305 | 381 | 403 | 502 | 568 | 648 | 762 | 838 | 914 | 991 | 1143 | 1346 |
| H | 50 | 55 | 80 | 102 | 114 | 127 | 152 | 184 | 219 | 273 | 360 | 395 | 430 | 470 | 550 | 580 | 700 | 800 |
| 手動 | H1 | 75 | 85 | 95 | 107 | 125 | 152 | 178 | 300 | 330 | 398 | 495 | 580 | 625 | 670 | 698 | 840 | 1050 | 1100 |
| E | - | - | - | - | - | - | - | - | - | 116 | 116 | 171 | 171 | 257 | 257 | 257 | 150 | 83 |
| F | - | - | - | - | - | - | - | - | - | 350 | 350 | 400 | 420 | 400 | 420 | 400 | 410 | 650 |
| W | 160 | 160 | 230 | 230 | 400 | 400 | 650 | 1050 | 1050 | 600 | 600 | 800 | 800 | 800 | 800 | 800 | 800 | 800 |
| Wt(Kg) | 9 | 13 | 16 | 19 | 24 | 30 | 55 | 87 | 118 | 255 | 370 | 533 | 640 | 1030 | 1524 | 2100 | 4200 | 5300 |
| 電動 | H2 | - | - | - | - | - | - | - | - | 235 | 235 | 400 | 400 | 410 | 410 | - | 420 | 690 | 690 |
| L1 | - | - | - | - | - | - | - | - | 74 | 350 | 350 | 420 | 420 | 400 | - | 400 | 410 | 650 |
| 氣動 | H3 | 215 | 240 | 264 | 340 | 379 | 452 | 479 | 646 | 666 | 814 | 1002 | 1059 | 1150 | 1205 | 1250 | 1295 | 1390 | 1470 |
| L2 | 200 | 270 | 270 | 405 | 405 | 574 | 574 | 756 | 756 | 1060 | 1060 | 1060 | 1360 | 1360 | 2840 | 2840 | 3300 | 3300 |
Q347F-64C美標軟密封球閥主要連接尺寸(mm)| 公稱通徑 | 50 | 65 | 80 | 100 | 150 | 200 | 250 | 300 | 350 | 400 | 500 | 600 | 700 |
| DN |
| d1 | 50 | 65 | 80 | 100 | 150 | 200 | 250 | 300 | 337 | 387 | 489 | 591 | 686 |
| L | 292 | 330 | 356 | 406 | 495 | 597 | 673 | 762 | 826 | 902 | 1054 | 1232 | 1397 |
| H | 114 | 124 | 133 | 159 | 250 | 294 | 445 | 500 | 530 | 660 | 800 | 900 |
|
| 手動 | H1 | 108 | 155 | 197 | 235 | 300 | 374 | 445 | 512 | 550 | 615 | 810 | 1010 | 1180 |
| E | 116 | 116 | 116 | 116 | 116 | 171 | 171 | 257 | 257 | 257 | 150 | 83 | 123 |
| F | 350 | 350 | 350 | 350 | 350 | 420 | 420 | 400 | 400 | 400 | 410 | 650 | 735 |
| W | 600 | 600 | 600 | 600 | 600 | 800 | 800 | 800 | 800 | 800 | 800 | 800 | 800 |
| Wt(Kg) | 23 | 35 | 49 | 91 | 192 | 355 | 640 | 880 | 1100 | 1540 | 2800 | 5300 | 5700 |
| 電動 | H2 | - | - | - | - | 554 | 574 | 731 | 771 | 867 | 805 | 979 | 1085 | 1148 |
| L1 | - | - | - | - | 235 | 235 | 400 | 400 | 410 | 410 | 420 | 690 | 690 |
| 氣動 | H3 | 340 | - | - | 479 | 666 | 895 | 1002 | 1059 | 1160 | 1250 | 1320 | 1470 | 1520 |
| L2 | 405 | - | - | 576 | 756 | 1060 | 1060 | 1360 | 1360 | 2840 | 2840 | 3300 | 3300 |